豫金刚石11月4日起将被ST,被执行金额超15亿
11月2日,豫金刚石 (300064)发布关于公司股票被实行其他风险警示的公告,公司股票自2020年11月3日(星期二)开市起停牌1天,将于2020年11月4日(星期三)开市起复牌。公司股票自2020年11月4日开市起被实施其他风险警示,股票简称由“ 豫金刚石 ”变更为“ST金刚”;股票交易的日涨跌幅限制不变,仍为20%;股票代码不变,仍为300064。

早在深交所10月27日晚下达的关注函中,便直击豫金刚石多个“痛点”。由于此前豫金刚石拒不回复,深交所直接在函告中要求公司在11月2日前回复提问,并披露董事会意见。同时,深交所直接警告称若11月27日前仍未回复问询将对公司强制“ST”。11月2日,豫金刚石在回复函中确认公司存在问题:一是公司存在资金流向控股股东及实际控制人的情形;二是公司存在违反规定程序对外提供担保的情形,并核查确认已触及其他风险警示。

企查查APP显示,豫金刚石成立于2004年12月,注册资本12.05亿元,2010年3月在深圳证券交易所挂牌上市,当前法定代表人为郭留希(现已被限制高消费)。公司主营业务为人造金刚石的研发、生产和销售,主导产品为人造金刚石。


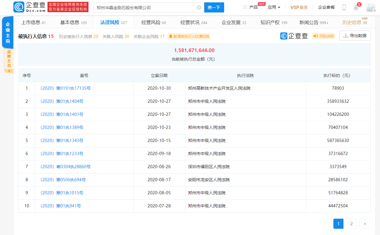
企查查风险信息显示,公司目前自身风险高达327条,由于拒不履行法律义务,豫金刚石已于6月22日和7月11日两次被列为失信被执行人,公司被执行信息已达15条,被执行总金额超过15亿,实际控制人郭留希也先后16次收到被限制消费令。
责任编辑:

