东风本田“续保押金”背后:老板有16家公司,被
作者 | 市界 秦海清
编辑 | 朗明
因“续保押金”事件,东风本田亳州东源4S触发众怒,该店随后宣布道歉、涉事人员免职。鲜为人知的是,该店幕后老板“劣迹”颇多。
此前网上流传的一段视频显示,涉事4S店在2019年6月向一位车主收取了1000元续保押金,后来车主不愿在该店继续续保,4S店拒绝退还押金,且态度十分恶劣。
经曝光后,5月17日晚间,涉事4S发布《关于我店收取续保押金问题的说明》承认违规并致歉,相关员工被免职,同时对违规行为进行整改。
近年来,本田在中国市场销量走高。据本田中国官网消息,2019年,本田在中国的终端汽车销量创历史最高纪录,达到155.44万辆,其中东风本田销量为78.89万辆,同比增长113.2%。
2020年,本田中国延续高增长趋势,前4个月,本田在中国的终端累计销量总计335,414辆,同比增长73%,其中东风本田累计销量为160,665辆,同比增长75%。
涉事4S店曾被行政处罚14次
据了解,涉事4S店由安徽亳州东源汽车销售服务有限公司运营,天眼查数据显示,该公司成立于2010年5月,注册资本1000万元,经营范围包括小型汽车维修、东风本田汽车销售等。
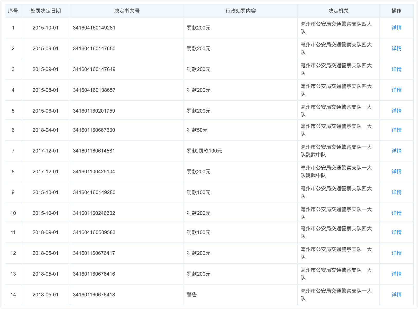
值得注意的是,2015年到2018年,该公司先后14次被亳州市公安局交通警察支队行政处罚或警告。不过处罚力度并不大,多为罚款200元。
幕后老板坐拥16家公司
5次被执行人、超60次行政处罚,名下公司员工曾行贿
天眼查数据显示,涉事4S店由安徽中源汽贸集团有限公司绝对控股,该公司成立于2003年1月,注册资本5000万元,背后的实际控制人为王勇和陈湘。
2009年到2015年,安徽中源汽贸集团有限公司曾5次成为被执行人,执行标的累计达到45.68万元。
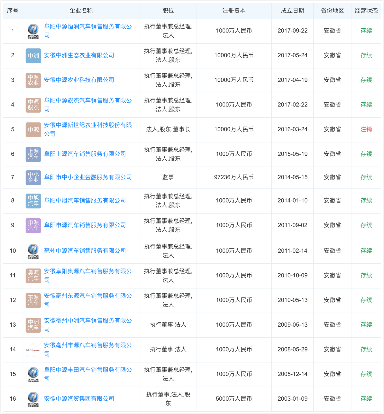
包括涉事4S店和安徽中源汽贸集团在内,王勇名下共有16家公司,其中11家为汽车销售公司。王勇的业务还涉及生态农业、中小企业金融服务。
上述16家公司中,有6家公司曾遭到行政处罚,累计达62次。
2016年11月,安徽阜阳奥源汽车销售服务有限公司曾因在生产经营中以次充好,被罚款4.4万,并没收违法所得和非法财物5万元。这也是王勇受到的最严重的处罚,其余61次处罚多为罚款200元,至多500元。
此外,裁判文书网公布的《柴国良受贿案一审刑事判决书》显示,王勇控制的安徽中源汽贸集团有限公司曾卷入其中。
2001年到2013年,柴国良先后在阜阳国税局、铜陵国税局任局长,2015年1月,因涉嫌犯受贿罪被安徽省人民检察院决定逮捕。
判决书显示,柴国良曾接受安徽中源汽贸集团有限公司总经理陈某的请托,对该公司在纳税评估、税收征缴方面给予关照。
根据陈某证言,其是安徽中源汽贸集团董事长的妻子。2007年左右的一天,陈某和颍州区国税局长方某某、农业银行的闪某某和阜阳市国税局局长柴国良在建行楼下的咖啡厅吃饭。饭后,陈某拿出提前准备好的3万元现金送给柴国良,柴国良收下。
2008年春节后的一天,陈某在市国税局办公室,又送给柴国良2万元现金。

